Главное, за чем необходимо всегда следить, — нет ли протечек под бачком и в месте соединения трубки подачи воды к бачку. Особое значение при этом имеют прокладки (сальники), их правильный подбор и установка. Они должны быть надежно подогнаны, плотно прилегать к кромкам корпусов или деталей и быть хорошо обжаты гайками (шайбами).
Наиболее распространенными являются смывные бачки с боковой подводкой воды. Причина течи такого бачка может быть в неисправности тяги груши, спускового рычага, дуги поплавкового клапана и т. п. Для определения неисправности снимают крышку и нажимают пальцами на плоскую часть груши, после чего течь должна прекратиться.
В принципе тяга должна свободно скользить под тяжестью груши во втулке. Если этого не происходит, ее снимают со спускного рычага и выворачивают из груши. Затем выпрямляют, обращая внимание на ее изогнутый П-образный участок, который не должен цепляться своими боковыми сторонами за спускной рычаг. При искривлении участка тяги поблизости от резьбы его можно выпрямить молотком.
В случае срыва резьбы на тяге нарезают новую резьбу с помощью плашки необходимого размера. Чтобы не проткнуть грушу насквозь при заворачивании тяги, П-образный участок
Можно переформатировать в кольцевой, лишь бы он не цеплялся за детали бачка. Можно изготовить новую тягу из стальной омедненной или латунной проволоки подходящего диаметра.
В качестве временного варианта можно использовать и стальную проволоку, но она быстро ржавеет и обламывается в месте завертывания в грушу.
Иногда в смывном бачке с верхним расположением спускового механизма разбивается крышка. Придерживая плоскогубцами короткую тягу, отвинчивают грушу. Выдергивают за шаровую рукоятку внутренность спускного механизма и примерно на конце полуметрового куска подходящей по диаметру проволоки нарезают резьбу для груши. Противоположный конец проволоки загибают. Прямой конец проволоки с резьбой пропускают в направляющую трубку. Когда он выйдет со стороны дуги, наворачивают грушу.
Направляющую трубку во избежание качания накрест привязывают к бачку тонкой проволокой или синтетической бечевкой, пропустив ее под бачок в отверстия у верхней кромки. Эта удлиненная тяга может служить до приобретения новой крышки. Такая тяга может дозировать количество сливаемой воды.
У бачков с верхним спускным механизмом добраться до тяги в случае ее дефекта не так просто. Для этого отворачивают шаровую рукоятку, придерживая трубку. Отвинчивают втулку и кладут отдельно вместе с прокладкой. Снимают крышку и закрывают вентиль. Спускают воду из бачка, после чего отворачивают грушу и вынимают тянущую трубку с тягой. Если тягу необходимо отделить от трубки, проверяют ее прямизну.
Не следует при этом забывать, что тянущая трубка выполнена из латуни и покрыта хромом. Если расковырять ее суженный конец, тяга будет выпадать.
Случается, что расклепка тяги, стопорящая ее в тянущей трубке, быстро стирается и тяга выпадает. В этом случае необходимо вновь наклепать головку, диаметр которой должен быть таким, чтобы тяга свободно скользила в трубке.
При поломке тяги новую можно изготовить из тяги для бокового спускного механизма бачка или из тяги для бачка с нижней подводкой воды.
При нормальной работе тяги причина течи может заключаться в неисправной груше. Чаще всего стенки ее сферической части стираются, теряют упругость и местами прогибаются внутрь. При этом исчезает кольцевой контакт между грушей и отверстием седла, в результате чего в зазор проникает вода. В этом случае лучше всего заменить грушу новой. Взявшись ладонью за грушу, другой ладонью выводят П-образный участок тяги со спускного рычага. Вывинчивают тягу и ставят новую грушу.
Иногда неверное положение занимает спускной рычаг, что мешает груше закрыть отверстие в седле. Для устранения дефекта не следует подгибать рычаг, лучше сразу проверить винты крепления пластин, которые его удерживают. Болтающиеся винты или винт закручивают.
Можно также попробовать плоскогубцами затянуть винты с внутренней стороны смывного бачка, сжимая губками резьбу на концах винтов. При этом вертикальная четырехугольная пластина с двумя резьбовыми отверстиями должна упираться горизонтальным отгибом в самый низ выемки на стенке бачка. Тогда все крепление рычага при закрученных винтах будет неподвижным.
Неисправность седла определяют, нажимая пальцами на верхнюю плоскость, чтобы вода не проникла в зазор между корпусом, прокладкой и седлом. Перекрывают вентиль спуска воды, опорожняют бачок и подтягивают гайки крепления седла. При этом удобнее пользоваться не гаечным, а торцовым ключом.
Возможен и другой дефект седла, которое обычно изготавливается штамповкой из стального листа с антикоррозийным покрытием. Но из-за стирания в месте контакта со сферической частью груши на седле нередко проступает ржавчина.
В этом случае приподнимают или свинчивают грушу и ножом соскребают наслоения. На седлах, изготовленных из пластмассы, такой дефект отсутствует, однако они менее жесткие, чем металлические. Крепящие гайки на них затягивают равномерно во избежание перекашивания плоскости седла, что приводит к неполной посадке груши и протеканию воды.
Из дуги часто выпадает направляющая втулка. Самый быстрый ремонт — это вставить втулку в отверстие дуги, снизу и сверху на нее намотать несколькими слоями тонкую аптечную резину. Можно также натянуть кольца, срезанные с резиновой трубки подходящего диаметра.
При неисправности перелива также может возникнуть постоянно текущая струйка в унитазе. В этой ситуации нажимают на его раструб. Если течь прекратится, значит, отвинтилась гайка перелива. Ее надо завернуть, отсоединив полочку.
Перелив ничем не должен быть закупорен, иначе при неисправности вода переполнит бачок и польется на пол. Иногда вода и без закупорки не попадает в перелив. Такое случается, если ослабевают болты крепления полочки к унитазу. Если наклон бачка слишком велик, а болты из-за ржавчины завернуть не удается, то укорачивают перелив. Для этого достаточно проделать в нем, начиная с верхнего края, треугольную выемку. Ее глубина должна равняться тому уровню воды, который необходимо установить в бачке.
Если вода течет по наружной стенке бачка, то наиболее вероятная причина этого — слишком высокий уровень воды в бачке, из-за чего вода попадает в отверстия у верхней кромки корпуса. Для устранения дефекта подгибают рычаг поплавкового клапана или более глубоко втискивают поплавок, отогнутый под прямым углом конец рычага. После этого уровень воды сразу должен понизиться.
Другой причиной течи может стать трещина в вертикальной стенке корпуса. В этом случае перекрывают воду вентилем, чтобы высох корпус, трещину затирают жидким стеклом или эпоксидным клеем, а сверху промазывают краской. Состав по консистенции должен приближаться к замазке. После затирки трещины можно сверху с наружной стороны корпуса провести полосу жидкой краски и наклеить бинт или марлю.
Чтобы обнаружить подтекание из-под манжеты или прямо из нее, следует одну ладонь поставить под манжету, а другой нажать на рукоятку спускного механизма. Если вода прольется, значит, манжета неисправна. Она может быть стянута с горловины унитаза перекосившимся смывным бачком. При такой неисправности надо подпереть бачок специальной подставкой, а затем довернуть гайки винтов, которые соединяют полочку и унитаз. Вновь натянуть манжету на горловину унитаза.
Если на манжете появились продольные трещины, то ее надо заменить. При жесткой трубной подводке воды к бачку отсоединяют поплавковый клапан, винты крепления полочки к бачку унитаза и снимают крышку бачка. Сдвигают манжету с горловины унитаза. Переворачивают бачок и ставят полочкой вверх. На освободившийся патрубок полочки надевают манжету стороной с меньшим диаметром. Следует иметь в виду, что на патрубке будет одна треть длины манжеты, остальная часть — на горловине унитаза и на промежутке между торцами горловины и патрубка. Эту часть выворачивают наизнанку, натянув вторым слоем на патрубок так, чтобы почти выглядывал его торец. Чем тщательнее это будет проделано, тем легче охватить манжетой горловину унитаза.
Дальнейшие действия следующие. Переворачивают бачок в нормальное положение, ставят полочку на унитаз. Подсоединяют поплавковый клапан, вставляют винты и их направляющие втулки в соответствующие отверстия унитаза и полочки, надевают и полностью заворачивают гайки. Натягивают манжету на горловину унитаза, постепенно выворачивая в обычное состояние с патрубка полочки.
При гибкой подводке к поплавковому клапану манжету отсоединять не обязательно. Вынимают винты из отверстий полочки и унитаза и снимают манжету. Дальнейшие операции лучше проводить вдвоем. Один человек поднимает бачок, другой меняет манжету так же, как и в предыдущем случае.
Лопнувшую полочку из фаянса склеить невозможно. При трещине вода будет сливаться по патрубку полочки и попадать на пол. Отсоединяют бачок и переворачивают его — трещина сразу обнаружится.
Покупая новую полочку, следует проверить ее плоскостность ребром линейки. Кстати, металлическая полочка гораздо прочнее фаянсовой.
Ремонт смывного бачка с нижней подводкой воды.
Ремонт многих деталей этого бачка аналогичен ремонту бачка с боковой подводкой воды. Поэтому далее приведены наиболее характерные неисправности и способы их устранения.
• Вода переполняет корпус и по переливу стекает в унитаз. Причина, скорее всего, в том, что стойка в местах установки контргаек проржавела. Для устранения неисправности перекрывают вентилем поступление воды в бачок, опорожняют его, отсоединяют трубу подводки воды к стойке, отворачивают контргайку. Снимают прокладку. В прижиме, тисках или в трубном рычажном ключе зажимают стойку и отворачивают контргайку. Рычажным ключом откручивают поплавковый клапан. Изготавливают новую стойку, используя старую в качестве шаблона. Сборку выполняют в обратном порядке с новыми резиновыми прокладками и свежим уплотнением на краске под корпус вертикального поплавкового клапана.
• Ручка вместе с втулкой механизма спуска качается в отверстии корпуса бачка. Причина в том, что отвернута контргайка на втулке механизма спуска. Необходимо подтянуть контргайку, закрепив рычаг так, чтобы стенки прорези на нем заняли вертикальное положение. Это обеспечит свободное движение тяги во втулке.
• При нажатии на рукоятку вода из бачка не выливается. Скорее всего, отвалилась шайба на верхнем конце тяги. При отсутствии шайбы подбирают аналогичную или делают новую тягу из проволоки. Верхний конец тяги сворачивают в спираль в горизонтальной плоскости. Максимальный размер спирали должен превышать ширину плоского конца новой тяги. Нарезают резьбу в зависимости от резьбы прежней тяги.
• Наружное дно бачка мокрое, вода течет по подводящей трубе между контргайками стойки. В этом случае наверняка потрескались или пересохли прокладки. Их следует заменить новыми, изготовленными из листовой резины средней твердости. Разборку выполнить как описано выше, только при этом не надо отворачивать корпус вертикального поплавкового клапана со стойки.
• Течет вода по выпускной трубе. Причина — в ослабленном уплотнении гайки у седла. При устранении неисправности перекрывают поступление воды в бачок. Его опорожняют, вытирают насухо, вводят в зазор между гайкой седла и дном бачка прядь уплотнения на краске.
Ремонт поплавковых клапанов.
Поплавок, выполненный в большинстве современных моделей унитаза из пластмассы, должен быть абсолютно герметичным, чтобы не нарушить при затоплении регулировку поплавкового клапана.
Надо сказать, что поплавковый клапан в сборе с поплавком — самый сложный элемент конструкции бачка. Любой его вариант должен обеспечивать основную задачу — автоматическое управление поступления воды, а также ее надежное перекрытие, как только требуемый уровень будет достигнут.
Выпускается с двумя видами рычажного механизма: противодавления и попутного давления.
Клапан противодавления работает таким образом: при наполнении бачка поплавок с рычагом поднимается, и рычаг поворачивается вокруг оси, давит на поршень, который приближается к седлу в корпусе клапана. При заданном уровне воды в бачке поршень герметично закрывает седло резиновой прокладкой. Уровень воды в бачке можно регулировать, перемещая поплавок по вертикальной части рычага.
Когда бачок опорожняется, поплавок с рычагом опускается, поршень отодвигается от седла, и бачок начинает заполняться водой.
В клапанах попутного давления давление воды на клапан прижимает его к прокладке. При опорожнении бачка он отодвигается от седла под действием массы поплавка и рычага, и вода по зазору поступает в бачок. Промежуточные звенья увеличивают усилие открытия. При заполнении бачка поплавок с рычагом поднимаются, и клапан закрывается.
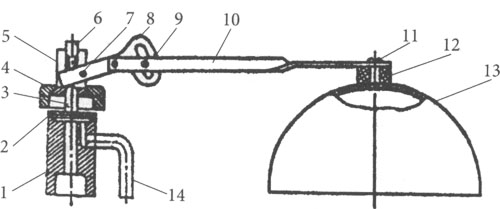
Горизонтальный поплавковый пластмассовый клапан имеет свои конструктивные особенности (рис Конструкция горизонтального поплавкового клапана), однако для него характерны многие неисправности, присущие латунному клапану. Установка пластмассового клапана в смывной бачок имеет некоторые особенности.

Рисунок Конструкция горизонтального поплавкового клапана: а — пластмассовый с жесткой подводкой; б — пластмассовый с гибкой подводкой: 1 — прокладка резиновая; 2 — пластмассовая накидная гайка; 3 — прядь уплотнения; 4 — трубка пластмассовая; 5 — труба подводки с Ду = 15 мм; 6 — угольник; 7 — прядь уплотнения; 8 — контргайка пластмассовая; 9 — корпус смывного бачка; 10 — прокладка резиновая; 11 — шайба пластмассовая; 12 — корпус клапана; 13 — прокладка (пробка); 14 — шток; 15 — втулка; 16 — рычаг стальной; 17 — чулок; 18 — поплавок; 19 — ось латунная; 20 — резиновая трубка
К бачку может подходить жесткая или гибкая подводка воды. Жесткая подводка (рис. Конструкция горизонтального поплавкового клапана, а) состоит из водопроводной трубы и угольника. Отступив на две-три нитки резьбы от торца корпуса, который вворачивается в угольник, накручивают прядку льна. При этом сосок корпуса клапана должен быть направлен и находиться внутри корпуса смывного бачка, а цилиндрическая с резьбой часть клапана продета в отверстие вблизи края его боковой стенки. Шестигранная часть корпуса клапана опирается на шайбу (пластмассовую или резиновую).
Контргайку накручивают после продевания корпуса клапана в отверстие корпуса бачка.
Гаечным ключом корпус клапана за шестигранный поясок вкручивают в угольник. Подводят по резьбе контргайку на расстояние 2—3 мм от торца угольника, и в этот кольцевой промежуток в сторону доворачивания контргайки накручивают уплотнение. Пассатижами, в крайнем случае трубным ключом, осторожно доворачивают контргайку, которая вместо граней имеет выступы. Между резьбами контргайки и корпуса клапана должно быть плотное сцепление. Контргайка не должна быть свободной на резьбе корпуса клапана.
Это следует учитывать при покупке нового поплавкового клапана.
При возникновении течи из соединения «корпус — угольник » отворачивают контргайку несколькими витками, снимают уплотнение и протирают кольцевой зазор до полного высыхания.
Прядь уплотнения смачивают в масляной краске и наворачивают в кольцевой промежуток. После закручивания контргайки не рекомендуется пользоваться смывным бачком 2—3 дня, с тем чтобы краска подсохла.
Вода течет обычно по наружной стенке корпуса бачка, поскольку контакт пластмассового корпуса и угольника находится именно за этим местом. Меньше трудностей возникает при ремонте, если к корпусу клапана вода подводится гибкой подводкой (рис. 25, б). На ней могут быть установлены накидные гайки из разного материала. Но в любом случае между торцом трубки в накидной гайке и соприкасающимся торцом корпуса клапана следует устанавливать резиновую прокладку.
При гибкой подводке контргайка повернута и зажимает корпус клапана в отверстии корпуса бачка. Если этого не сделать, то весь поплавковый клапан будет свободно передвигаться в бачке, так как в гибкой подводке нет жесткости стальной трубы и угольника.
Пластмасса, из которой изготовлены детали клапана, имеет свойство при нагревании плавиться. Поэтому при поломке ребер, в которые вставляется ось, соединяющая втулку и рычаг, можно заделать трещину при помощи нагретого металлического стержня. Ремонт остальных деталей аналогичен ремонту латунного поплавкового клапана.
Вертикальный поплавковый клапан. Если переполнен бачок и вода течет через перелив в унитаз, значит, скорее всего, пришла в негодность прокладка.
Пассатижами отворачивают накидную гайку, стараясь при этом не выронить шток. Новую прокладку вырезают из листовой резины толщиной не более 2 мм. При сборке шток должен быть обращен закругленной частью к фасонному рычагу.
Разборку и сборку узла проводят, не поворачивая стойку во избежание течи по дну бачка и подводящей трубе. Если при наполнения бачка слышен гул, дрожат трубы, причиной этого может быть вибрация резиновой прокладки. Для ее устранения бывает достаточно подтянуть или ослабить накидную гайку или заменить прокладку более подходящей.

Рисунок Устройство вертикального поплавкового клапана: 1 — корпус; 2 — резиновая прокладка; 3 — шток; 4 — накидная гайка; 5 — валик; 6 — спецвинт; 7 — шплинт; 8 — рычаг фасонный; 9 — барашек; 10 — рычаг поплавка; 11 — винт; 12 — втулка пластмассовая; 13 — поплавок; 14 — трубка сливная Если вода продолжает поступать в бачок через сливную трубу при опорожненном бачке и приподнятом пальцем рычаге, то при исправной прокладке это может означать, что у выходной части центрального отверстия корпуса клапана образовалась раковина. В этом случае проще всего заменить корпус, отвернув дефектный.
Новый корпус устанавливают с применением уплотнения — пряди, смазанной масляной краской. В ином случае можно сточить раковину с помощью напильника с широким полотном, ручной фрезой или на токарном станке. При этом необходимо соблюдать условие: размер углубления выходной части при удалении раковины должен компенсироваться сторцеванием резьбовой стороны корпуса. Только в этом случае клапан будет работать исправно.
Слишком медленное или слишком быстрое наполнение бачка можно исправить, немного выкрутив или закрутив специальный винт.
В случае переполнения бачка, когда вода постоянно течет через излив в унитаз, причин неисправности может быть несколько.
Если выпал шток, его вставляют на место или изготавливают новый из латунного (алюминиевого) прута. Может быть сорвана резьба на барашке или в резьбовом отверстии рычага поплавка. Барашек заменяют обычным винтом, который заворачивают короткой отверткой. При срыве резьбы в отверстие рычага ставят гайку.
Еще одна причина — расклеились втулка и поплавок. Сначала перекрывают доступ воды в бачок, затем выворачивают винт и отделяют пластмассовую втулку. Поплавок и втулку склеивают эпоксидной смолой или суперцементом. Помещают втулку внутрь поплавка. Вкручивая винт во втулку, притягивают поплавок к рычагу. Вставляют резиновую прокладку между втулкой и поплавком.
Если узел отремонтировать невозможно, устанавливают современный поплавок, прикрепив его к рычагу шурупом. Головку шурупа и кольцевую канавку на поплавке заливают масляной краской для герметичности.