Многие, кто живет в частных домах знакомы с проблемами грызунов. Грызуны способны не только подпортить ваши съестные запасы, но и испортить то, что другим живым существам будет не по зубам. Грызуны, например, могут перегрызть оплетку проводов. Кроме того, так как их зубы остры и крепки, да еще и отрастают, то они могут перегрызть даже мягкий металл проводников. Не будем развивать наши мысли о вредительстве, так как их выводы известны.
Также стоит добавить и о прописных истинах, что грызуны не только вредители, но еще и являются разносчиками всевозможных болезней. Итак, если соседство с ними так неблагоприятно, то избавится от грызунов или хотя бы ограничить их пребывание на вашей территории, это дело принципа.
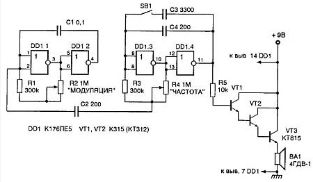
Электросхема генератора - отпугивателя грызунов своими руками
Схема генератора, показанная на рис.1, состоит из модулятора низкой частоты (С1, С2, DD1.1, DD1.2, R1, R2), генератора ультразвуковых колебаний (СЗ, С4, DD1.3, DD1.4, R3, R4), усилителя мощности на транзисторах VT1—VT3 и излучателя, в качестве которого использован высокочастотный громкоговоритель 4ГДВ-1.

Рис. 1. Простой генератор для отпугивания грызунов (мышей и крыс)
При номиналах, указанных на схеме, генератор излучает частотно-модулированные колебания в диапазоне 15…40 кГц. Частота генератора регулируется резистором R4, частота модуляции регулируется резистором R2 в пределах 2…10 Гц.
Если установить контакт SB1 таким образом, что при несанкционированном проникновении в помещение этот контакт замыкается, генератор может работать еще и как сирена охранной сигнализации, поскольку начинает излучать модулированные но частоте колебания в диапазоне 1000…2000 Гц.
Следует иметь в виду, что при длительной работе в одном частотном диапазоне крысы могут адаптироваться, поэтому необходимо резисторами R2 и R4 изменять параметры излучения 2–3 раза в неделю. Можно также применить такой прием: конденсатор С4 соединить с отрезком провода, создающим дополнительную емкость, изменяющуюся при изменении температуры, влажности, силы ветра (если провод вывести наружу) и т. д. Тогда частота будет изменяться по случайному закону.
Необходимо помнить, что ультразвуковые колебания, излучаемые этим генератором, могут отрицательно воздействовать на нервную систему человека и домашних животных. Длительное пребывание в помещении с работающим генератором может вызвать головную боль, тошноту и другие ощущения дискомфорта, поэтому включать его рекомендуется непосредственно перед уходом из помещения.